Vöru kynning
GB þungar teinar hafa fræðilega þyngd sem er meiri en eða jafnt og 50 kg á metra sem grunnforskriftina og eru úr hágæða kolefnisstáli eða lágt álstáli. Meðan á framleiðsluferlinu stendur verða þeir að fara í gegnum breytir stálframleiðslu, betrumbæta utan ofnsins, stöðugri steypu og öðrum bræðsluferlum til að tryggja að hreinleiki stálbilletsins uppfylli staðalinn; Síðan er þeim rúllað og myndað af mikilli nákvæmni heitum rúllumölum og víddarþoli járnbrautarhæðar, botnbreidd, höfuðbreidd osfrv. Er stranglega stjórnað innan landsbundins staðalsviðs. Lokaðar vörur verða að standast mörg próf eins og ultrasonic galla uppgötvun og togprófun. Þeir hafa mikinn styrk, mikla slitþol og góða hörku og eru mikið notaðir í samgöngusviðsmyndum eins og skottinu járnbrautir og þungar álag.
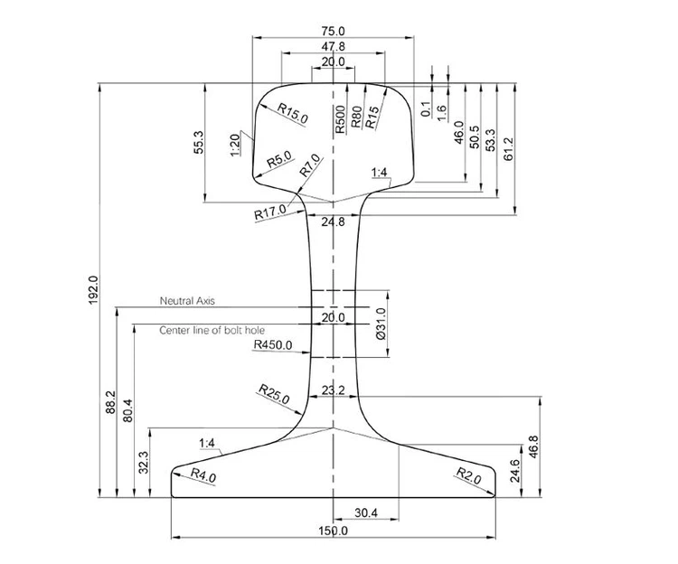
Teinar sem vega 75 kg á metra eru þungar teinar, venjulega notaðar fyrir járnbrautarlínur, þungar járnbrautir eða sérstök lög (svo sem jarðsprengjur, hafnir osfrv.). Hörku og hörku teinanna er bætt með heitu veltingu, slökkt og öðrum ferlum. Til dæmis geta „slökkt tein“ í fullri lengd bætt slitþol verulega.

Lykilárangur
● Togstyrkur: meiri en eða jafnt og 880 MPa (U71MN sem dæmi), sem tryggir að það þolir lestarálag.
● Wear Resistance: Surface Hardness (eins og Brinell Hardness) getur náð 280-350 Hb, dregið úr slit á hjólum og lögum.
● Þreytuþol: Aðlagast endurtekinni veltingu með lestum og draga úr hættu á sprungu.
Vöruupplýsingar

Vöruumsókn


Vörupökkun og afhending
Í umbúðum utanríkisviðskipta og flutninga á þungum teinum GB er stálbönd grunn og mikilvægasta skrefið. Sérhver hópur af {{0}} þungum teinum er fyrst forstilltur í báðum endum teinanna með stálvírum með miðlungs þykkt til að koma í veg fyrir flutning meðan á flutningi stendur og síðan krossþrýstingur með stálböndum af 16-19 mm breidd. Herpandi krafti stálbandanna er stjórnað á 1200-1500 n til að tryggja að teinarnar losni ekki við hleðslu, losun og flutning. Eftir að búnt er lokið skaltu úða strax ryðolíu. Eftir að andstæðingur-ryðsolían er að fullu komin inn og þurrkuð er allt búntinn af teinum þétt vafinn með plastfilmu 0. 1-0. 15 mm þykkt til að koma í veg fyrir raka og ryk.


Gnee Rail einbeitir sér að því að bjóða upp á alhliða efnislausnir fyrir alþjóðlegar flutninga á járnbrautum. Við höfum byggt upp fullkomið iðnaðarkerfi frá hráefni innkaupum, framleiðslu og vinnslu til dreifingar á heimsvísu og vörur okkar hafa staðist margar alþjóðlegar vottanir eins og ISO9001. Við erum með faglegt alþjóðaviðskiptateymi sem getur veitt sérsniðnar vörulausnir í samræmi við kröfur viðskiptavina verkefnis og treyst á alþjóðlegt flutningsnet til að ná fram skilvirkri afhendingu. Með margra ára reynslu af iðnaði höfum við komið á fót þjónustuneti sem nær yfir helstu markaði og leggjum áherslu á að veita viðskiptavinum fullri lotu, einn stöðvandi þjónustu við vöruafurðir.







maq per Qat: 75 kg þungt tegund járnbrautarstál, Kína 75 kg þungt gerð járnbrautarstálframleiðenda, birgjar, verksmiðja






